- within Law Practice Management and Coronavirus (COVID-19) topic(s)
The United States Supreme Court denied certiorari in the closely observed case American Axle & Manufacturing, Inc., v. Neapco Holdings LLC. The Court's refusal to hear the case disappointed patent practitioners nationwide—and likely also members of the Federal Circuit Court of Appeals, which itself has been clamoring for guidance. For now, at least, this means that lower courts and practitioners remain without much-needed clarity on the proper application of the Mayo/Alice test for determining statutory subject matter under 35 U.S.C. § 101.
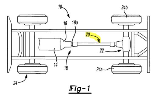
In American Axle, the Federal Circuit held a patent claim not eligible for protection under Section 101, where it involved methods of reducing vibrations on a shaft assembly of an automobile (highlighted at 20, below). The patent explained that in the existing art, car shaft assemblies experienced vibrations resulting in movements according to three modes: lateral (bending mode), twisting (torsion mode), and circumferential (shell mode). According to the patent, existing methods of attenuating vibrations, such as weights and liners, were ineffective at attenuating more than one of those modes. The patent claimed an improvement for applying liners to the shaft, whereby the liners would be tuned according to mass and stiffness to account for bending mode and shell mode vibrations. See, e.g., Claim 22 of U.S. Patent No. 7,774,911.

Claim 22 of the '911 Patent recites:
A method for manufacturing a shaft assembly of a driveline system, the driveline system further including a first driveline component and a second driveline component, the shaft assembly being adapted to transmit torque between the first driveline component and the second driveline component, the method comprising:
providing a hollow shaft member;
tuning a mass and a stiffness of at least one liner; and
inserting the at least one liner into the shaft member;
wherein the at least one liner is a tuned resistive absorber for attenuating shell mode vibrations and wherein the at least one liner is a tuned reactive absorber for attenuating bending mode vibrations.
Applying step 1 and step 2 of the Mayo/Alice test, the district court (in an opinion penned by Judge Stark, now on the Federal Circuit bench as of March 2022), held that "Hooke's law governs the relationship between mass, stiffness, and frequency" and that the "'tuning' claim limitation does nothing more than suggest that a[n]...engineer consider that law of nature when designing propshaft liners to attenuate driveline vibrations." Am. Axle & Mfg. v. Neapco Holdings LLC, 309 F. Supp. 3d 218, 226-28 (D. Del. 2018).
The Federal Circuit majority (Judges Dyk and Taranto), over a vigorous dissent by Judge Moore, agreed with Judge Stark, but offered a clue as to how the claims may have survived the Alice test had they been more detailed, i.e., if they included specific finite element analysis models. The majority held that while "[t]his case might well be significantly different, if, for example, specific FEA [finite element analysis] models were included in the claims[, ] the claims' general instruction to tune a liner amounts to no more than a directive to use one's knowledge of Hooke's law, and possibly other natural laws, to engage in an ad hoc trial-and-error process of changing the characteristics of a liner until a desired result is achieved." Am. Axle & Mfg. v. Neapco Holdings LLC, 939 F.3d 1355, 1363-64 (Fed. Cir. 2019).
Judge Moore, in a strongly-worded dissent, argued otherwise. She noted that "[t]he majority's concern with the claims at issue has nothing to do with a natural law and its preemption and everything to do with the concern that the claims are not enabled. Respectfully, there is a clear and explicit statutory section for enablement, § 112. We cannot convert § 101 into a panacea for every concern we have over an invention's patentability, especially where the patent statute expressly addresses the other conditions of patentability and where the defendant has not challenged them." Id. at 1369.
The Federal Circuit then denied rehearing en banc and issued a hash of a split opinion, comprising a denial of the petition for rehearing (Judges Dyk, Wallach, Taranto), a concurrence (Judges Chen and Wallace), and four separate dissenting opinions (comprising Newman, Moore, O'Malley, Reyna, Stoll, and Lourie).Judge Newman underscored the views of the dissents:
The court's rulings on patent eligibility have become so diverse and unpredictable as to have a serious effect on the innovation incentive in all fields of technology. The victim is not only this inventor of this now-copied improvement in driveshafts for automotive vehicles; the victims are the national interest in an innovative industrial economy, and the public interest in the fruits of technological advance. I share the concerns of my colleagues in dissent, and I write to emphasize the far-reaching consequences of the court's flawed Section 101 jurisprudence. Am. Axle & Mfg. v. Neapco Holdings LLC, 966 F.3d 1347, 1357-58 (Fed. Cir. 2020).
To obtain clarity and guidance from the Supreme Court, American Axle appealed. The Supreme Court initially indicated interest in the case by requesting the government to weigh in on whether to grant certiorari. It took the Solicitor General over a year to submit a brief in response to this request. Once initial briefing was complete, both American Axle and the United States Solicitor General had argued that the Supreme Court should take up the case because there is substantial uncertainty in the law as to how any given set of patent claims will be evaluated under the Mayo/Alice test. They encouraged the Supreme Court to provide lower courts, practitioners, and inventors guidance on how to objectively determine when a claim is "directed to" unpatentable subject matter. The Solicitor General pointed out that "[p]roblems arising from the application of Section 101 have attracted particular attention in certain fields, such as medical diagnostics, and that the USPTO's guidance to patent examiners "has made it difficult for 'inventors, businesses, and other patent stakeholders to reliably and predictably determine what subject matter is patent eligible'." Nevertheless, at the end of its term this year, the Supreme Court declined these invitations to take up the case and clarify Section 101.
Although patent practitioners may have varying views on the Federal Circuit's decision and the Supreme Court's denial, there is general agreement that in the years following the Mayo and Alice decisions, the level of ambiguity around how to apply the Mayo/Alice framework to a given patent claim remains, for now. In fact, former Chief Judge Paul Michel of the Federal Circuit, in testimony to Congress in 2019, asked, "If I, as a judge with 22 years of experience deciding patent cases on the Federal Circuit's bench, cannot predict [Section 101] outcomes based on case law, how can we expect patent examiners, trial judges, inventors and investors to do so?" This question is likely to remain unanswered until the Supreme Court provides the clarity American Axle and the Solicitor General sought in this case. It remains to be seen whether the Court, in a future case with an equally fractured Federal Circuit seeking guidance, will ultimately take up a Section 101 patent eligibility case and answer those calls for clarification.
The content of this article is intended to provide a general guide to the subject matter. Specialist advice should be sought about your specific circumstances.