- within Strategy topic(s)
On April 5, 2024, Director Vidal vacated and remanded the Patent Trial and Appeal Board's (PTAB's) denial of institution of inter partes review (IPR) where the Petitioner relied on a drawing in a prior art patent document to allege that the spatial arrangement of certain features depicted in the drawing rendered the Patent Owner's claims anticipated and obvious. See IPR2023-00861, Paper 15, (PTAB Apr. 5, 2024) ("Decision").
Petitioner had initially requested IPR of certain claims of U.S. Patent No. RE47,494 E ("the '494 Patent"). The PTAB denied institution, determining that "the Petition did not establish a reasonable likelihood that Petitioner would prevail with respect to at least one of the challenged claims." Decision at 2. Petitioner then filed a request for Director Review, arguing that the PTAB erroneously applied Federal Circuit case law in denying Petitioner's reliance on a prior art drawing to teach the spatial positioning of elements of a radiator recited in the Patent Owner's claims.
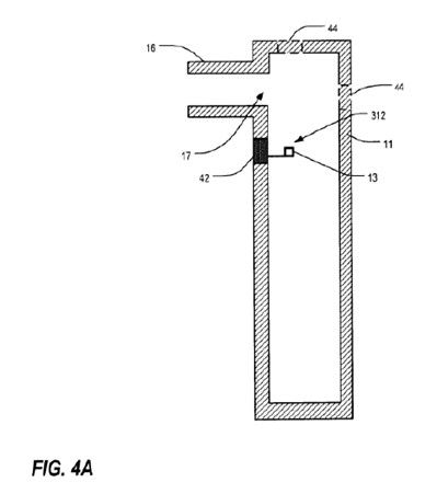
The '494 Patent concerns "a device to prevent corrosion caused by electrolysis comprised of metal, preferably disposed in or near the inlet hose connection of a radiator, heater core, or other such engine thermal control device." U.S. Patent No. RE47,494 E, col. 2, ll. 41-44 (emphasis added). As an exemplary embodiment, Figure 4A of the '494 Patent depicts a cross-section of a radiator having an electrolysis prevention device 312 with an "anode" 13, as well as an "inlet" connection 16:

Claim 12 of the '494 Patent is representative of the claims challenged by Petitioner:
12. A method of preventing corrosion of a radiator, the method comprising:
installing a sacrificial anode assembly including a sacrificial anode within the radiator,
wherein the sacrificial anode is placed within 10 inches of a hot liquid inlet to the radiator.
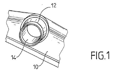
In alleging the claims as anticipated and obvious, Petitioner relied on a drawing – Figure 1 of prior art reference Godefroy et al., WO 03/100337 A2 ("Godefroy"), reproduced below, which "shows a manifold 10 of a heat exchanger" having a "sacrificial resist 14" allegedly corresponding to the "sacrificial anode" recited in Patent Owner's claim 12.

Notably, in Godefroy, the "sacrificial resist" 14 is inserted into pipe 12, which functions as a "liquid inlet." See Decision at 4.
At issue was whether a person of ordinary skill in the art would have understood from Figure 1 of Godefroy that the "sacrificial anode" is necessarily placed within 10 inches of a hot "liquid inlet" to the radiator, as recited in claim 12. Petitioner provided expert testimony to this effect. However, in denying institution, the PTAB relied on Hockerson-Halberstadt, Inc. v. Avia Grp. Int'l, Inc. 222 F.3d 951 (Fed. Cir. 2000) in concluding that since Figure 1 does not provide exact dimensions, Godefroy would not "have suggested to a person of ordinary skill in the art that anodes should be placed within 10 inches of Godefroy's hot liquid inlet." Decision at 5.
In its request for Director Review, Petitioner argued that the PTAB misapplied Hockerson in refusing to acknowledge that, on its face, the prior art drawing clearly taught the dimensional range. Reasoning that since the sacrificial anode shown in Figure 1 of Godefroy is "located at, and lining, the liquid inlet," Petitioner argued that "it cannot be that a patent drawing depicting an element at and lining a location (i.e., 'within 0 inches') does not teach the element being 'within 10 inches' of that location." Decision at 5-6 (emphasis in original).
The case law has established that a prior art drawing may anticipate or render obvious a claimed invention. Decision at 6 (quoting In re Meng, 492 F.2d 843, 847 (CCPA 1974)). Nevertheless, the use of drawings as prior art may be limited, since "[p]atent drawings do not define the precise proportions of the elements and may not be relied on to show particular sizes if the specification is completely silent on the issue." Id. (quoting Hockerson, F.3d at 956). However, in situations where "a person of skill in the art could derive the claimed dimensions from the patent's disclosure, there is no additional requirement that the specification must explicitly disclose the precise proportions or particular sizes." Decision at 7 (quoting Cummins-Allison Corp. v. SBM Co., 484 F. App'x 499, 507 (Fed. Cir. 2012)). The test is whether the drawing alone clearly shows the claim limitation. See Decision at 6.
On review, Director Vidal agreed with Petitioner that the PTAB misapplied Hockerson and failed to consider what Figure 1 "clearly shows or would have reasonably suggested to a person of ordinary skill in the art" in view of Petitioner's expert testimony. Decision at 7. Director Vidal explained that the PTAB should instead, on remand, determine whether the Petitioner demonstrated that the prior art drawing was "clear on its face" in showing the spatial arrangement of features as recited in the Patent Owner's claims or, alternatively, would have reasonably suggested such an arrangement.
Takeaway: There are limitations as to how a drawing in a prior art document may be used to anticipate or render obvious a claimed invention, particularly in circumstances where the drawing does not define precise proportions of the elements recited in the claims. However, even if precise proportions are not provided, a drawing that is clear on its face or would have reasonably suggested a claimed invention may still teach or suggest the claims.
The content of this article is intended to provide a general guide to the subject matter. Specialist advice should be sought about your specific circumstances.